# 会话洞察
# 一、功能简介
会话洞察通过AI自动分析企业微信会话内容,让你不读聊天,也能快速看懂客户情绪、识别问题,洞察机会。

价值:
- 帮你快速掌握客户真实想法与需求。
- 发现潜在风险,提前做好应对。
- 优化员工沟通质量,提升客户体验。
# 二、使用说明
# 2.1 准备工作
在使用会话洞察功能前,需要先开通会话存档。
若已开通会话存档,系统会在次日自动更新贵企业的会话洞察数据。每个企业有30天的免费体验时间。在手动开启后生效。
# 2.2 客户整体的情绪分析
如下图所示,AI会根据每天员工与客户的聊天记录内容进行分析,智能分析客户每条消息的情绪,是属于正向、负向还是中性。并智能提炼正向热词和负向热词,让您快速掌握今天客户都在聊些什么。

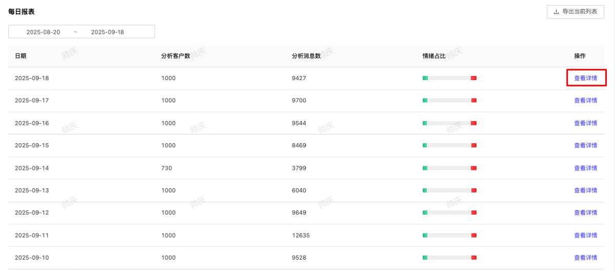
# 2.3 查看每日洞察明细
在功能首页最下方的每日报表,可查看每一天的数据,点击查看详情,即可查看当天的具体数据。

在每日详情中的最下方,可查看每个客户的分析结果,其中包含当天客户与员工的会话摘要。让您不需要翻看聊天记录,即可快速掌握该客户与员工的对话重点。

再次点击查看详情,即可查看指定客户的会话摘要、情绪分析结果和当天与员工的聊天记录。